返回
专利服务委托
/

分享专利年费缴纳

委托: 卖出
分享专利年费缴纳
谁能想到收银员也会负责维护公司的年度专利费如果实用新型和发明专利的年费在授权后的一定时间内没有支付,这些专利可能会产生滞纳金,甚至在未来终止
 年费查询步骤:
步骤1:打开专利搜索网站https://cponline.cnipa.gov.cn/
第二步:点击右上角的登录按钮->自然人登录(无账号者可先注册后登录)
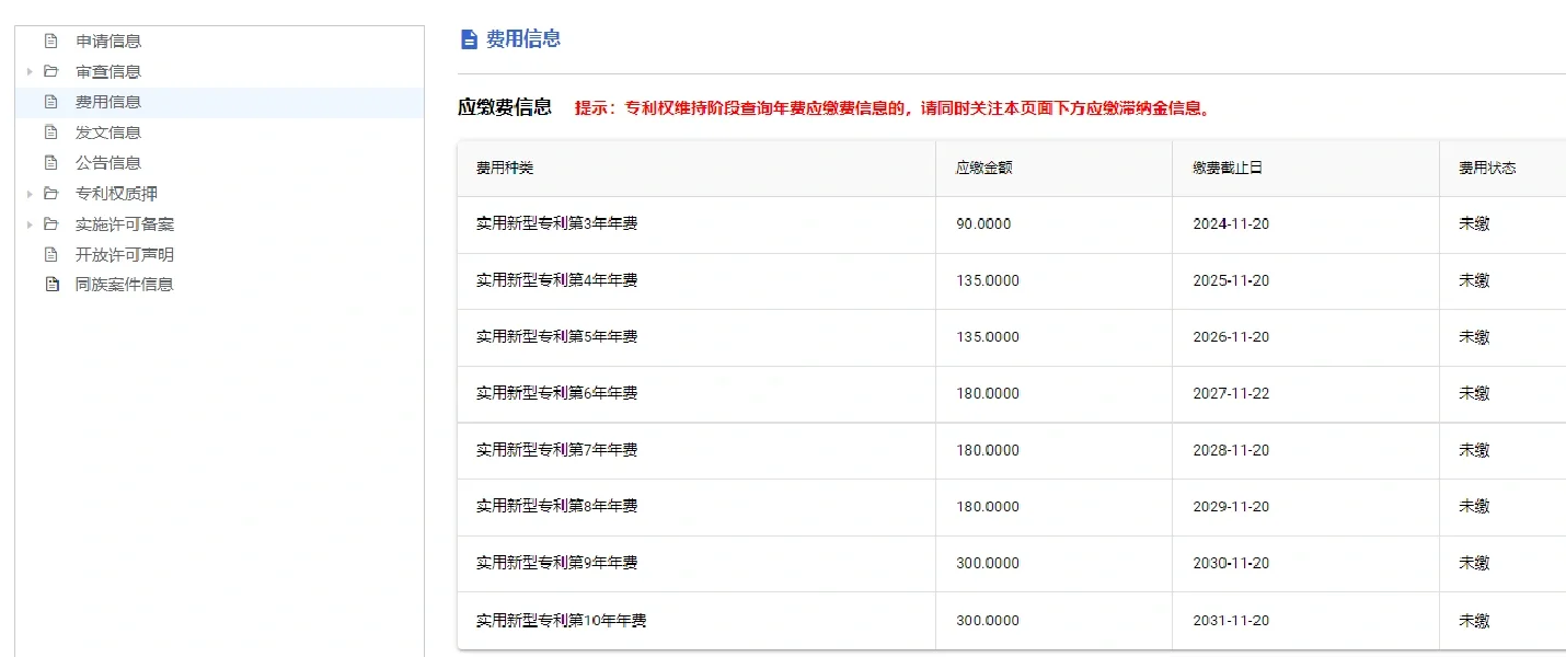
第三步:查看前几年专利年费的支付情况和后续支付情况:登录并点击专利支付服务->费用查询->支付服务->专利费用查询->输入专利号->点击查询的专利
您可以看到前几年专利费的支付情况以及后续需要支付的年费
 为公司支付应用程序开具发票的步骤:
支付服务->电子支付列表->支付列表填写->在出现的界面上填写信息->导入已支付专利的列表(导入模板可以在系统中导出填写,对于较少的专利可以直接添加)->最后提交->在支付列表中查询申请的详细信息->下一步,等待专利局的电子邮件发送发票
附言:有时通过网站不清楚专利年费是全额支付还是超额支付。您可以拨打010-62356655联系客服查询。每个电话可以查询5项专利!
¥ 议价
推荐经纪人

dongdong

服务专员

  • Q Q :
  • 微信:
  • 手机:
  • 邮箱:
平台经纪人
服务介绍
常见问答
相关推荐
  • 问:我可以注册多个ningtui.com账户吗?
    答:ningtui.com不支持用户用一个证件认证多个账户,如果您需要更换您交易所使用的邮箱,可以在绑定邮箱中添加您的新邮箱信息,无需重新注册账户进行实名认证。请注意已经注册的邮箱无法被再次绑定。
  • 问:交易期限到了买家不确认收货怎么办?
    答:交易期限届满,经纪人会帮忙联系,如果卖家提供证据证明交易标的或经营管理权已转移至买家,买家无正当理由不回复,视为买家确认交易完成,财务给卖家正常结算。(一般情况下不超过3个工作日)
  • 问:是否必须要实名认证?如何进行实名认证?
    答:为了提高域名交易的安全性,ningtui.com需要每一位用户进行实名认证。请在注册后上传您的有效证件照片(驾照、身份证或者护照和手执证件照)或者企业的有效证件照片,我们将在您提交资料后的2个工作日内完成审核。 在我的账户—账户设置—实名认证中完成身份认证。(我们将保护您的隐私安全)
  • 问:谁可以发起交易?
    答:卖方和买方以及第三方经纪人均可以在ningtui.com发起中介交易。
  • 问:充值后多久能到账?
    答:汇款后5分钟内会自动充值到您中介网账户,超过5分钟未到账,请联系中介网经纪人。更多问题请联系ningtui.com财务咨询。
  • 问:申请提现后多久可以到账?
    答:在您发起提现请求后,ningtui.com将在工作时间内及时处理您的请求并发起银行转账。T日转出,T+1日24:00前到账。交易日为非节假日的周一到周五,15:00前为上一个交易日,15:00后为下一个交易日(T参照股市交易日)。具体到账时间需要视银行的工作时间和操作而定。
  • 问:为什么要实名认证?为什么需要有效身份证件才可以在ningtui.com进行交易?是否会泄露个人信息?
    答:ningtui.com的中介交易审核的严苛是为了有效规避交易风险。本平台一直通过人工审核的方式来保证每一笔交易的安全,防止争议标的在ningtui.com交易。有效的身份证件是我们能够确保中介交易安全保护买卖双方利益最有效的方法之一。切实保护您的隐私安全是ningtui.com的宗旨。
  • 问:ningtui.com是如何保护买卖双方的安全?
    答:只有当买方的资金被我们确认到账了才会通知卖方发货。我们会保证卖方按时发货,并跟踪货物发货情况以保证买方能及时收到货。如果商品本身有欺诈嫌疑,买方可以在我们付钱给卖方前联系ningtui.com经纪人。
帮助中心 >>

如果想要了解更多,可以去帮助中心 或者可以联系平台经纪人